
MIL-DTL-83796/7D
NOTES:
1. For straight fitting end to straight flange hose assembly types the length "L" is to be measured
between straight fitting end along a straight line parallel to hose, with hose laid out horizontally and
straight, to front of straight flange.
2. For straight fitting end to 45° flange hose types the length "L" is to be measured between straight
fitting end along a straight line parallel to hose, with hose laid out horizontally and straight, to front
edge of 45° flange.
3. For straight fitting end to 90° flange hose types the length "L" is to be measured between straight
fitting end along a straight line parallel to hose, with hose laid out horizontally and straight, to the
center line of the 90° flange.
4. For 90° fitting end to 90° flange hose assembly types the length "L" is to be measured between
center line of 90° fitting end along a straight line parallel to hose, with hose laid out horizontally and
straight, to the center line of the 90° flange.
FIGURE 2. Hose assembly dimensions - Continued.
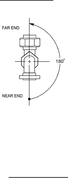
Angular displacement. Angular displacement shall be as shown on figure 3.
NOTES:
1. Angular displacement for hose assemblies with elbow fittings on both ends shall have the
angular displacement between elbows, measured counter-clockwise from the centerline of the
nearest fitting, positioned at six-o' clock, to the centerline of the other fitting (see SAE-J517).
2. The near end of the connector shall be put in numerical order relative to the far end (see table I).
Example: Near end adapter 45°, far end 90°.
3. Angular displacement shall be measured in degrees with a tolerance of ± 3° for lengths up to 2
feet (61 cm) and ± 5° for all lengths over 2 feet (61 cm).
4. The angular displacement shall be expressed in two digits number of degrees divided by 5,
example 165/5 = 33.
5. Making the angular determination in the wrong direction will result in an unacceptable part.
FIGURE 3. Elbow fitting angular alignment.
6
For Parts Inquires call Parts Hangar, Inc (727) 493-0744
© Copyright 2015 Integrated Publishing, Inc.
A Service Disabled Veteran Owned Small Business