
INCH-POUND
MIL-DTL-52471/8B
4 December 2008
SUPERSEDING
MIL-DTL-52471/8A
27 April 1998
DETAIL SPECIFICATION SHEET
HOSE ASSEMBLIES, RUBBER: HYDRAULIC PRESSURE-TYPE; TYPE 100RE
This specification is approved for use by all Departments and
Agencies of the Department of Defense.
The requirements for acquiring the product described herein shall consist of this specification sheet
and MIL-DTL-52471.
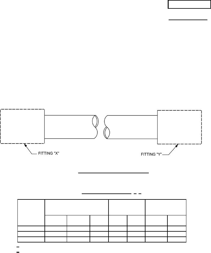
FIGURE 1. Hose assembly, fitting identification.
Operating pressure. Hose assembly operating pressures are shown in table I.
TABLE I. Hose operating pressure. 1/ 2/
Maximum
Minimum
Hose ID
operating
Hose ID
burst
pressure
dash
pressure
number
Inch
Inch
mm
psi
MPa
psi
MPa
fraction
decimal
-8
1/2
.500
12.70
7500
51.7
30,000
206.9
-12
3/4
.750
19.05
6250
43.1
25,000
172.4
-16
1
1.000
25.40
5000
34.5
20,000
137.9
1/ Dimensions are in inches.
2/ Metric equivalents are given for information only.
Hose assembly code number. The purpose of this slash sheet is to provide hose assembly code
numbers for determining the hose diameter, fitting X, fitting Y, and bend angles (when applicable) as
shown in tables II through IV. The bend angles are called "style codes" and consist of hose assembly
styles as explained in MIL-DTL-52471.
AMSC N/A
FSC 4720
For Parts Inquires call Parts Hangar, Inc (727) 493-0744
© Copyright 2015 Integrated Publishing, Inc.
A Service Disabled Veteran Owned Small Business